Updates

Boat Brim Signs Licensing Deal!
by Chris Hamman
We are excited to announce that Boat Brim signed a licensing deal with Mighty Ventures, Inc., the licensing arm of Mighty Mug, creators of the world famous spillproof mug that sold more than 3 million units! This deal places the Boat Brim brand and IP in experienced hands, to scale Boat Brim's windproof hat technology to new markets and enterprise partners. Read more about how to license Boat Brim, and get ready for Boat Brim coming to a store near you!

New Made in USA Boat Brim Hat
by Chris HammanBoat Brim is powering into the 2021 boating season at full throttle, with a brand new line of Made in USA trucker hats. These 'Wave' hats fit great, look sleek, and feature a stylized American flag logo. Nothing beats American manufacturing, your purchase directly supports American small businesses and workers.

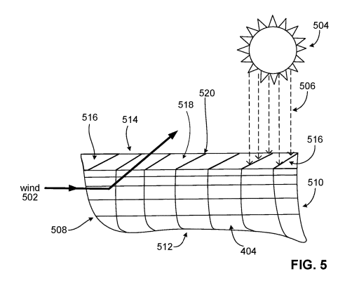
2 Patents Awarded to Boat Brim in 2019
by Evan KereiakesBoat Brim is the only patented windproof hat technology proven to fit the needs of outdoor sports enthusiasts. We worked hard to secure excellent intellectual property protection. This guarantees that you are wearing the most cutting-edge, high-performance hat on the market. With the granting of two patents in 2019, we have achieved all our early goals and are now turning our focus to wholesale markets.

German Sailing Team Member Wears Boat Brim at 2018 World Cup Series
by Chris Hamman
Fabian Graf is one of the coolest and most dedicated sailors in the world right now. And all his hard work resulted in a 4th place finish out of 38 boats in the 49er class at the 2018 World Cup Series in Miami this past weekend. Follow him and teammate Tim Fischer as they grind their way toward the Tokyo 2020 Olympics. Team Boat Brim is proud to support them and to make sure Fabian can focus on racing rather than worrying about his hat.

Boat Brim Presents: The Leaf Blower Challenge (Video)
by Mary Rankin
Boat Brim is the world's first and only windproof hat, that stays on your head up to 60+mph and still blocks the sun. To prove this, we blasted our hats with the force of a 110mph leaf blower and then compared them to some normal hats. The Leaf Blower Challenge wasn't even close! The normal hats were blown miles away while Boat Brim didn't even budge.

Boat Brim Featured as Top Emerging Gear by Gear Junkie
by Chris Hamman
Boat Brim is making waves already in 2018, and GearJunkie.com is first to get the scoop. As one of Gear Junkie's top Emerging Gear featured products, we are proud to be recognized for our cutting edge performance hat design. Follow us in the year ahead as we continue to break wind speed records with the world's fastest hat.

Boat Brim Featured as a Top Product by Proto Labs
by Chris Hamman
Boat Brim already has a strong manufacturing partnership with Proto Labs, the top entrepreneurial parts prototyping firm in the US. But when they featured our cutting edge hat brim design in their annual calendar, we felt pretty special! Proto Labs has manufacturing facilities in five countries and produces millions of parts per year for customers, so what an honor to be chosen as a top featured design!

Providing Kids with Opportunities to Sail
by Evan Kereiakes
Team Boat Brim raced in the 2017 Sailing for Scholars Regatta on the Hudson River, taking home 3rd place out of a fleet of 15 boats. But the real winners of the day were the high school racers who earned 1st place and some brand new Boat Brims.
Making a Splash at Melges 20 Nationals in Newport
by Chris Hamman
The best racers from around the country convened in Newport for the 2017 Melges 20 Nationals. They also tried out the fastest hat ever made, and loved it!

Boat Brim Launched at the 2017 America's Cup
by Mary Rankin
The open ocean can be a daunting place, but for team Boat Brim, it's just another proving ground to test the awesome capabilities of our new high performance hat technology. Follow us on our journey as we introduce Boat Brim to the world and then sail back from Bermuda to the USA!